Запчасти поларис вайдтрак

Фиксатор спинки снегохода polaris widetrak. Запчасти поларис вайдтрак. Щуп кпп снегоход поларис вайдтрак лх 500. Коробка передач снегохода поларис вайдтрак лх 500. Снегоход поларис fs iq widetrak iq схему ходовой части.
Фиксатор спинки снегохода polaris widetrak. Запчасти поларис вайдтрак. Щуп кпп снегоход поларис вайдтрак лх 500. Коробка передач снегохода поларис вайдтрак лх 500. Снегоход поларис fs iq widetrak iq схему ходовой части.
Запчасти поларис вайдтрак. Кпп снегохода поларис вайдтрак лх 500. Схема электрическая снегохода polaris widetrak lx 500. Polaris widetrak iq коробка передач. Амортизатор задней подвески для снегохода поларис 600 iq widetrak.
Запчасти поларис вайдтрак. Кпп снегохода поларис вайдтрак лх 500. Схема электрическая снегохода polaris widetrak lx 500. Polaris widetrak iq коробка передач. Амортизатор задней подвески для снегохода поларис 600 iq widetrak.
Передняя подвеска снегохода поларис вайдтрак лх 500. Фиксатор спинки снегохода polaris widetrak. Запчасти поларис вайдтрак. Задняя подвеска снегохода поларис вайтрак lx 500. Вариатор снегохода поларис вайдтрак лх 500.
Передняя подвеска снегохода поларис вайдтрак лх 500. Фиксатор спинки снегохода polaris widetrak. Запчасти поларис вайдтрак. Задняя подвеска снегохода поларис вайтрак lx 500. Вариатор снегохода поларис вайдтрак лх 500.
Привод спидометра снегоход поларис 500. Polaris widetrak lx 500 схема системы охлаждения. Polaris s13su4bel widetrak lx intl 2013 топливная система-. Ведущий вал снегохода поларис лх 500. Fs widetrak iq/intl.
Привод спидометра снегоход поларис 500. Polaris widetrak lx 500 схема системы охлаждения. Polaris s13su4bel widetrak lx intl 2013 топливная система-. Ведущий вал снегохода поларис лх 500. Fs widetrak iq/intl.
Вал привода спидометра polaris widetrak lx. Кпп polaris iq 600 fs. Запчасти поларис вайдтрак. Запчасти поларис вайдтрак. Запчасти поларис вайдтрак.
Вал привода спидометра polaris widetrak lx. Кпп polaris iq 600 fs. Запчасти поларис вайдтрак. Запчасти поларис вайдтрак. Запчасти поларис вайдтрак.
Polaris widetrak lx 500 система охлаждения. Схема поларис вайдтрак iq. Запчасти поларис вайдтрак. Система охлаждения снегохода поларис вайдтрак лх 500. Система охлаждения снегохода поларис вайдтрак лх.
Polaris widetrak lx 500 система охлаждения. Схема поларис вайдтрак iq. Запчасти поларис вайдтрак. Система охлаждения снегохода поларис вайдтрак лх 500. Система охлаждения снегохода поларис вайдтрак лх.
Руль снегоход поларис схема. Приводной вал поларис вайдтрак лх 500. Снегоход поларис вайдтрак 600 запчасти. Кронштейн дополнительный каток polaris widetrak lx. Polaris widetrak lx 500 задняя подвеска.
Руль снегоход поларис схема. Приводной вал поларис вайдтрак лх 500. Снегоход поларис вайдтрак 600 запчасти. Кронштейн дополнительный каток polaris widetrak lx. Polaris widetrak lx 500 задняя подвеска.
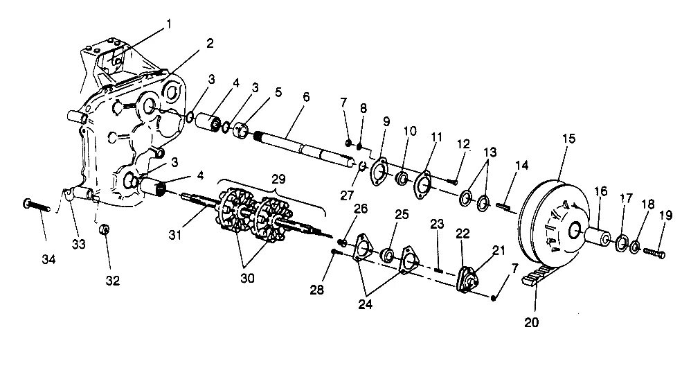
Кпп снегохода поларис вайдтрак лх 500. Задняя подвеска снегохода поларис вайдтрак лх 500. Поларис widetrak lx 500 рычаг подвески. Поворотный кулак polaris widetrak lx 6230102-458. Система охлаждения снегохода поларис вайдтрак лх 500.
Кпп снегохода поларис вайдтрак лх 500. Задняя подвеска снегохода поларис вайдтрак лх 500. Поларис widetrak lx 500 рычаг подвески. Поворотный кулак polaris widetrak lx 6230102-458. Система охлаждения снегохода поларис вайдтрак лх 500.
Схема электрическая снегохода polaris widetrak lx 500. Запчасти поларис вайдтрак. Запчасти поларис вайдтрак. Запчасти поларис вайдтрак. Болт крепления коробки передач на polaris widetrak lx 7517291.
Схема электрическая снегохода polaris widetrak lx 500. Запчасти поларис вайдтрак. Запчасти поларис вайдтрак. Запчасти поларис вайдтрак. Болт крепления коробки передач на polaris widetrak lx 7517291.
Поларис вайдтрак карбюратор. Привод спидометра снегохода поларис вайтрак лх 500. Ремонт кпп поларис вайдтрак. Polaris widetrak iq 600 топливный клапан схема. Polaris widetrak iq 600 схема передней подвески.
Поларис вайдтрак карбюратор. Привод спидометра снегохода поларис вайтрак лх 500. Ремонт кпп поларис вайдтрак. Polaris widetrak iq 600 топливный клапан схема. Polaris widetrak iq 600 схема передней подвески.
Точки смазки снегохода поларис вайдтрак. Система охлаждения снегохода поларис вайдтрак лх 500. Спинка для снегохода polaris. Запчасти поларис вайдтрак. Поларис вайдтрак 550 привод редуктора спидометра.
Точки смазки снегохода поларис вайдтрак. Система охлаждения снегохода поларис вайдтрак лх 500. Спинка для снегохода polaris. Запчасти поларис вайдтрак. Поларис вайдтрак 550 привод редуктора спидометра.
Запчасти поларис вайдтрак. Запчасти поларис вайдтрак. Polaris widetrak lx 500 руль и ручка газа. Штанга рычагов подвески поларис вайдтрак лх 500. Polaris widetrak fs iq масляный насос.
Запчасти поларис вайдтрак. Запчасти поларис вайдтрак. Polaris widetrak lx 500 руль и ручка газа. Штанга рычагов подвески поларис вайдтрак лх 500. Polaris widetrak fs iq масляный насос.
Рельс подвески polaris widetrak. Аналоги масла для коробки передач снегохода полярис вайдтрак lx. +схема снегохода поларис widetrak 500. Запчасти поларис вайдтрак. Запчасти поларис вайдтрак.
Рельс подвески polaris widetrak. Аналоги масла для коробки передач снегохода полярис вайдтрак lx. +схема снегохода поларис widetrak 500. Запчасти поларис вайдтрак. Запчасти поларис вайдтрак.
Запчасти поларис вайдтрак. Вариатор снегохода поларис вайдтрак лх 500. Запчасти поларис вайдтрак. Точки смазки снегохода поларис 600. Polaris widetrak lx 500 кпп схема.
Запчасти поларис вайдтрак. Вариатор снегохода поларис вайдтрак лх 500. Запчасти поларис вайдтрак. Точки смазки снегохода поларис 600. Polaris widetrak lx 500 кпп схема.
Задняя подвеска снегохода поларис вайдтрак лх 500. Polaris widetrak iq 600 передние рычаги схема. Запчасти для снегохода поларис вайдтрак лх. Запчасти поларис вайдтрак. Натяжитель цепи кпп снегохода полярис iq 600.
Задняя подвеска снегохода поларис вайдтрак лх 500. Polaris widetrak iq 600 передние рычаги схема. Запчасти для снегохода поларис вайдтрак лх. Запчасти поларис вайдтрак. Натяжитель цепи кпп снегохода полярис iq 600.
Поларис widetrak lx 500 рычаг подвески. Система охлаждения снегохода поларис вайдтрак 600. Запчасти поларис вайдтрак. Проводка снегохода polaris widetrak lx. Polaris widetrak lx 500 задняя подвеска 2000.
Поларис widetrak lx 500 рычаг подвески. Система охлаждения снегохода поларис вайдтрак 600. Запчасти поларис вайдтрак. Проводка снегохода polaris widetrak lx. Polaris widetrak lx 500 задняя подвеска 2000.
Запчасти поларис вайдтрак. Ведущий вал снегохода поларис вайдтрак лх 500. Система охлаждения снегохода поларис вайдтрак лх. Замок зажигания polaris widetrak lx 500. Ведущий вал поларис вайдтрак лх 500.
Запчасти поларис вайдтрак. Ведущий вал снегохода поларис вайдтрак лх 500. Система охлаждения снегохода поларис вайдтрак лх. Замок зажигания polaris widetrak lx 500. Ведущий вал поларис вайдтрак лх 500.
Подвеска снегохода polaris widetrak lx. Ведущий вал поларис вайдтрак. Система охлаждения поларис вайдтрак лх 500. Коробка снегохода поларис widetrak lx 500. Polaris widetrack lx 500 схема кпп.
Подвеска снегохода polaris widetrak lx. Ведущий вал поларис вайдтрак. Система охлаждения поларис вайдтрак лх 500. Коробка снегохода поларис widetrak lx 500. Polaris widetrack lx 500 схема кпп.
Фаркоп полярис вайдтрак лх. Задняя подвеска снегохода поларис вайдтрак лх 500. Вал привода спидометра polaris widetrak lx. Polaris widetrak iq 600 передние рычаги схема. Запчасти поларис вайдтрак.
Фаркоп полярис вайдтрак лх. Задняя подвеска снегохода поларис вайдтрак лх 500. Вал привода спидометра polaris widetrak lx. Polaris widetrak iq 600 передние рычаги схема. Запчасти поларис вайдтрак.
Запчасти для снегохода поларис вайдтрак лх. Polaris widetrack lx 500 схема кпп. Запчасти поларис вайдтрак. Спинка для снегохода polaris. Запчасти поларис вайдтрак.
Запчасти для снегохода поларис вайдтрак лх. Polaris widetrack lx 500 схема кпп. Запчасти поларис вайдтрак. Спинка для снегохода polaris. Запчасти поларис вайдтрак.